天玺体育最新盘口
加入收藏
|
设为天玺体育最新盘口
天玺体育最新盘口
|
公司简介
|
天玺体育最新盘口
|
产品展示
|
工厂展示
|
工程安装展示
|
营业部
|
联系我们
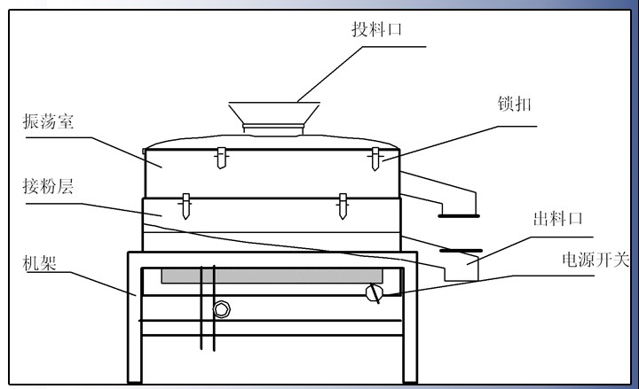
化工机械
食品机械
日化设备
水处理设备
厂址(总部):广东省清远市高新技术产业开发区雄兴工业城A3
(广清高速银盏出口)
电话:0763-3691933
13926173800
微信号:gzdehui
QQ号:1446293031
地址(营业部):广州市海珠区广州大道南1413号
电话:020-84288516
天玺体育最新盘口
>
产品展示
>
化工机械
>
Copyright @ 2011 清远得辉机械设备制造有限公司 版权所有
联系地址:广东省广州市白云区广花路夏茅路段东侧广州世盛工业品展览中心A栋10号 粤ICP备 100333 号
Powerd by